Деформации сооружений в пучинистых грунтах
В южной части Дальнего Востока районами массовой застройки являются крупные города, расположенные на берегах р. Амур. Это Благовещенск, Хабаровск, Комсомольск-на-Амуре, Николаевск-на-Амуре. Много населенных пунктов (станций) возникло во время строительства Транссибирской магистрали. Часть из них переросла в рабочие поселки и города. Наиболее крупные из них города Шимановск, Свободный, Белогорск, Биробиджан, Вяземский, Бикин, Спасск-Дальний, Уссурийск, Владивосток и др.
До 60-х годов нынешнего столетия застройка указанных городов велась зданиями в 2–5, в поселках в 1–2 этажа. С середины 60-х годов получило распространение строительство зданий повышенной этажности в 7–9–14 этажей. Промышленные здания в большинстве своем имеют 1–2 этажа.
Известно, что основания и фундаменты являются важнейшими конструктивными элементами зданий и промышленных сооружений. Потеря несущей способности или сверхнормативные деформации оснований, нередко заканчиваются авариями сооружений или приводят их к аварийному состоянию. Следствием воздействия климатических (замораживание – оттаивание, замачивание – высыхание), производственных (разрыхление – уплотнение) и эксплуатационных (замачивание бытовыми водами, затенение, лесопосадки и т.п.) факторов на грунты с нарушенным сложением являются деформации оснований: морозное пучение, неравномерные осадки грунтов при оттаивании, замачивании, а также деформации оснований, сложенных разносжимаемыми и слабыми типами грунтов.
В табл. 1.6 приведены результаты статистического анализа деформаций около четырехсот объектов, расположенных на территории юга Дальневосточного региона [18]. Из общего количества деформированных зданий 72% составляют жилые и общественные здания, 28% – промышленные сооружения. Следует отметить, что у 26% объектов деформации возникли в период их эксплуатации.
Краткий анализ табл. 1.6 свидетельствует о том, что основными причинами деформаций фундаментов сооружений является морозное пучение грунтов оснований (67%) и сверхнормативные осадки слабых оснований сооружений 29%.
В связи с этим промерзание грунтов и их оттаивание происходит неравномерно. Деформации фундаментов, их подъем и опускание в различных частях здания, происходят разновременно и различны по величине. В меньшей степени подвергаются морозному пучению сооружения на столбчатых (11–16%) и свайных (4–8%) фундаментах. Это можно объяснить лучшей анкерующей способностью указанных типов фундаментов при действии на них выдергивающих сил пучения.
На юге Дальнего Востока промерзание грунтов начинается в сентябре-ноябре, глубина промерзания грунтов 60–100 см. Ненагруженные или легко нагруженные фундаменты, заложенные в пучиноопасные грунты, начинают подниматься за счет касательных сил пучения.
Таблица 1.6
Статистические данные по деформированию объектов
Причины деформирования, % | |||
Морозное пучение фундаментов под воздействием касательных сил | То же под воздействием касательных и нормальных сил, промораживание оснований |
Слабые грунты |
Прочие |
29 | 38 | 29 | 4 |
Ошибки, % | |||
Изыскания | Проектирование | Строительство | Эксплуатация |
9 | 33 | 47 | 11 |
Типы фундаментов, % | |||
Ленточные | Столбчатые | Свайные | Прочие |
72 | 19 | 4 | 5 |
Типы сооружения, % | |||
Кирпичные | Крупнопанельные | Каркасные | Прочие |
82 | 2 | 8 | 8 |
Оценка состояния, % | |||
Удовлетворительное | Неудовлетворительное | Аварийное | Обрушение |
24 | 61 | 13 | 2 |
Мероприятия, % | |||
Без ремонта | Ремонт | Усиление | Переустройство |
16 | 61 | 16 | 7 |
Статистические данные по деформированию объектов вследствие воздействия сил морозного пучения и сверхнормативных осадок оттаивающих грунтов оснований
Ошибки, % | Фундаменты, % | |||||||
Причины деформаций |
Изыс- кание |
Проек- тиро- вание |
Стро- итель- ство |
Эксп- луата- ция |
Лен- точный |
Столб- чатый |
Свай- ный |
Про- чие |
Морозное пучение фундаментов под воздействием касательных сил | 17 | 25 | 30 | 28 | 78 | 11 | 8 | 3 |
То же под воздействием касательных и нормальных сил, оттаивание промороженных оснований | – | 6 | 91 | 3 | 80 | 16 | 4 | – |
Таблица 1.8
Статистические данные по оценке состояния объектов, деформированных в результате воздействия сил морозного пучения и сверхнормативных осадок оттаивающих грунтов оснований
Тип сооружения, % | Состояние, % | Мероприятия, % | ||||||||
Кир- пич- ные |
Круп- нопа- нель- ные |
Кар- кас- ные |
Про- чие |
Удов- летво- ритель- ное |
Неудовлетво- ритель- ное |
Ава- рий- ное |
Без ре- монта |
Ре- монт |
Уси- ление |
Пере- уст- рой- ство |
91 | 3 | 3 | 3 | 33 | 58 | 9 | 22 | 69 | 3 | 6 |
91 | 2 | 7 | – | 24 | 65 | 11 | 15 | 65 | 15 | 5 |
Деформации пучения и осадки оттаивающих грунтов приводят к образованию трещин в фундаментах и стенах зданий, около перемычек оконных и дверных проемов, к отрыву внутренних поперечных стен от наружных, к отрыву торцевых самонесущих стен зданий, к отклонению как внутренних, так и наружных стен, а также наблюдаются отрыв и подъем крылец, веранд, световых приямков. Примерно треть сооружений (24–33%) имеет малые деформации и находится в удовлетворительном состоянии, не требует ремонта. Но большая часть (58–65%) зданий и сооружений требует материальных и трудовых затрат на ремонтные работы. Некоторое количество (9–11%) сооружений в результате больших неравномерных осадок после оттаивания вспученных грунтов оснований приходит в аварийное состояние и требует выполнения значительных работ по усилению и переустройству многих конструктивных частей сооружений.
Незначительное количество сооружений (5–6%) требует частичной или полной разборки и перестройки стен, перекрытий, покрытий и других конструкций зданий.
Ниже дано описание примеров деформаций объектов, происшедших на пучиноопасных грунтах, которые могли бы не произойти при соблюдении всех норм и правил изыскания стройплощадок, строительства и эксплуатации сооружений.
Пример 1.1. В п. Горном [13], расположенном севернее г. Ком-сомольска-на-Амуре, было построено 37 зданий. К 1962 г. 12 домов (32%) за счет систематически повторяющихся деформаций грунтов (пучение – осадка) за 3–5 лет были выведены из эксплуатации, потребовались специальные мероприятия по восстановлению зданий (рис. 1.2).
Территория поселка располагается в узкой долине верхнего течения р. Силинка, окруженной сопками. Жилые дома построены на надпойменных террасах. Террасы и пойма реки сложены галечно-валунными отложениями с песчано-гравийным заполнителем, залегающими на юрских окварцованных песчаниках и сланцах.
Усредненный геологический разрез представлен следующими горизонтами пород: намывной или насыпной слой 0,5–3 м; галечно-валунные (75 %) отложения средней плотности, местами плотные, залегающие на глубине 3,5 м с песчано-гравелистым заполнителем. Мощность аллювиальных отложений 10-20 м; галечно-валунных отложений рыхлого сложения 1–3 м. Пористость грунтов 35–40%. Коэффициент фильтрации до 180 м/сут.
Территория поселка обводнена. Грунтовая вода гидравлически связана с р. Силинкой. Уровень грунтовой воды колеблется в пределах 0,8–3,5 м, считая от дневной поверхности стройплощадки, поэтому фундаменты зданий подтопляются, а грунты основания длительное время бывают обводнены. Результаты наблюдений за уровнями грунтовой воды в скважинах и колодцах подтверждают значительное и быстрое колебание их на стройплощадке.
Минимальный уровень приходится на январь. В феврале наблюдается подпор грунтовой воды на глубине 0,5–1,1 м в связи с сезонным промерзанием грунтов в области разгрузки. Вмарте-апреле подпор снижается в связи с появлением таликов – локальных зон разгрузки.
Образование подпоров происходит в мае-июне с малыми амплитудами. Максимальный уровень грунтовой воды наблюдается с конца июня по август в связи с подъемом воды в р. Силинка за счет дождей.
В сентябре наблюдается постепенное падение уровня грунтовой воды, которое продолжается до января. Деформации оснований почти синхронно следуют за изменением уровня грунтовой воды (см. рис. 1.2). Анализ графиков деформации основания (фундаментов и надфундаментных конструкций) показывает (в годовом цикле наблюдений), что основание не находится в состоянии покоя. Основание периодически изменяет свое положение в вертикальной плоскости.

Рис.1.2 Деформация жилых домов в п. Горном: а) план п. Горного; б) деформация стен; в) графики деформации (пучение-осадка) дома № 23; 1, 2, 3, 4 - геодезические марки.
В годовом цикле наблюдений можно выделить следующие периоды:
1-й период характеризуется быстрой сменой состояния грунта (переход из талого в мерзлое состояние), в связи с опозданием проникновения отрицательных температур примерно на 5–6 месяцев и проявлением морозного пучения в период с июля по август;
2-й период – плавная осадка грунта основания, происходящая в течение трех месяцев (сентябрь-ноябрь). В этот период различные части здания дают неравномерную осадку. Это способствует возникновению больших деформирующих сил, концентрирующихся в ослабленных частях стен и фундаментов.
3-й период – стабилизация оснований. Он охватывает 2,5 месяца (декабрь, январь и половину февраля). В этот отрезок времени происходят малые осадки, иногда и пучение.
4-й период – период максимальной осадки грунтов оснований (с 15 февраля по 15 марта), происходящей в годовом цикле наблюдений, прогрессируют деформации стен, резко возрастают размеры и количество трещин в стенах зданий.
5-й период – пучение грунтов, он длится один месяц (с 15 марта по 15 апреля). В этот период наблюдается быстрый рост деформации стен и раскрытие трещин во всех деформированных домах.
6-й период – период быстрой смены состояния грунтов оснований (из талого – в мерзлое состояние).
Наблюдаются небольшие осадки и в то же время морозное пучение грунтов. Этот период охватывает 2,5 месяца (с 15 апреля по 30 июня).
Отсюда можно сделать вывод о динамичном поведении оснований, сложенных в привычном понимании весьма прочными и устойчивыми грунтами. В действительности, при определенных гидрогеологических условиях, указанные грунты могут быть причиной недопустимых деформаций фундаментов и надфундаментных конструкций.
В течение 3–5 лет часть зданий из-за периодического “расшатывания” (пучение – осадка) фундаментов и стен получила большие деформации (см. рис. 1.2), несовместимые с проживанием в них людей.
Причинами деформации явились морозное пучение и осадки вспученного основания, чего можно было бы избежать при качественном выполнении изыскания стройплощадки, правильном выборе глубины заложения фундаментов, соблюдении правил устройства фундаментов в зимнее время и эксплуатации сетей коммуникаций.
Изыскания стройплощадки были проведены поспешно. Поэтому основной массив застройки был охарактеризован неполно. Не было дано прогноза поведения грунтов после застройки поселка.
При проектировании фундаментов не учтено высокое (0,8–3,5 м) положение уровня грунтовой воды, не предусмотрены дополнительные меры по обеспечению устойчивости фундаментов при их мелком (1,2–2 м) заложении. Выпущена из виду возможность морозного пучения водонасыщенных крупнообломочных (галечно-валунных) грунтов при их промерзании на глубину 3–3,5 м. Не предусмотрены меры по снижению уровня грунтовой воды.
В процессе строительства большинство фундаментов было сооружено в зимний период. Грунты в котлованах и траншеях промораживались на глубину 3–3,5 м. Засыпка пазух фундаментов производилась, как правило, в апреле, что создавало условия консервации мерзлоты под фундаментами в виде перелетков.
Были установлены большие утечки воды в поселковой водопроводной, теплофикационной и канализационной сетях.
Из приведенного видно, что крупнообломочные грунты с песчано-гравийным заполнителем могут быть пучинистыми в водонасыщенном состоянии, причем могут возникать как касательные силы пучения (при смерзании с гранями фундаментов), так и нормальные (при образовании ледяных прослоек в грунте под подошвой фундаментов).
Пример 1.2. Типовое трехэтажное жилое здание с техническим подпольем и размерами в плане З0 х 18 м, а высотой 12,31 м было запроектировано полнокаркасным с шагом колонн 6 м. Каркас рамно- связевой схемы состоит из железобетонных составных колонн, ригелей, связевых плит, стены из навесных панелей. Пространственная жесткость здания в горизонтальных плоскостях обеспечивается работой плитных перекрытий как неизменных горизонтальных дисков; в вертикальных плоскостях: в продольном направлении рамами каркаса, в поперечном направлении поперечными кирпичными стенами в двух сечениях.
Фундаменты здания (рис. 1.3) запроектированы из сборных железобетонных башмаков стаканного типа марки ФК-13 и высотой
0,9 м, с размерами подошвы 1,З х 1,3 м и монолитных железобетонных подушек высотой 0,4 м, с размерами в плане от 2,1 х 2,1 м до 3,1 х З,1 м. Глубина заложения фундаментов 1,7...2 м от уровня будущей планировки, от фактического уровня грунта она составила 1,2–1,6 м. Нормативная глубина промерзания грунта для района строительства – 1,79 м.
Основание стройплощадки сложено (считая сверху вниз): насыпным грунтом слоем (0,8–1 м; суглинком мягкопластичным с гравием и галькой (до 38%) 0,2–0,3 м; галькой средней с гравием и песком (до 40%), водонасыщенной 1,1 м; песчаником выветрелым, трещиноватым, водоносным (толщина слоя не определялась). Уровень подземной воды находится на глубине 1,6 м ниже природного рельефа. Таким образом, фундаменты были заложены на глубину 1,65 м, т.е. на уровне горизонта подземной воды. Под фундаментами находится слой мягкопластичных суглинков толщиной 0,85–1,05 м.

Рис. 1.3. План фундаментов здания и графики их осадок: цифры слева от осей – осадки в период с 02.03.85 г. по 17.07.85 г.; справа в числителе – величины пучения фундаментов с 01.11.85 г. по 08.03.86 г.; в знаменателе – повторные осадки с 08.03.86 г. по 14.07.86 г.; – трещины в кирпичных стенах, см; [ – трещины в сварке стыков ригель – колонна.
Закладка фундаментов производилась в период с декабря 1984 г.
по март 1985 г., т.е. во время промерзания грунтов, в связи с чем бетонирование плит фундаментов, монтаж верхних блоков-стаканов и всего каркаса здания производились на промороженное и пучащее основание. Первые осадки фундаментов, несущих 30–50% проектной нагрузки, были замечены в апреле 1985 г. В полную силу они проявились после оттаивания основания, т.е. в июне-июле.
Наблюдение за величиной осадок было организовано с апреля 1985 г.
Осадка фундаментов закончилась в сентябре 1985 г. Строительство здания было законсервировано, отепление основания на следующую зиму не производилось, что вызвало вторичное промерзание основания и подъем фундаментов с ноября по март 1986 г. и вторичную осадку фундаментов с марта по сентябрь 1986 г.
Анализ графиков наблюдаемых осадок фундаментов после первой зимы дал следующие результаты: величина осадок фундаментов изменялась от 106 до 268 мм. Все 26 фундаментов имели осадку больше нормы (Su = 80 мм) в 1,33–3,35 раза. Средняя скорость осадки фундаментов равна 0,48–1,66 мм/сут. Относительная разность осадок фундаментов (перекосы) по длине шага колонн (6 м) колебалась в пределах 0,0017–0,0196 при норме 0,002 для каркасных зданий.
Нормы перекоса горизонтальных элементов (балок, ригелей) в уровне первого этажа были превышены в 1,3–4 раза 41% элементов, в 4–7 раз 14% и в 8–10 раз 2%. Результатом таких деформаций явился излом 5,2% ригелей от общего их количества и отрыв ригелей от колонн (2,6%) в узлах соединений. В кирпичных стенах на высоту этажа образовались косые трещины (10–60 мм).
Второй цикл пучения фундаментов в зимний период 1985–86 гг. начался через 20–40 суток после осадки фундаментов от прошлогоднего промерзания основания. Во вторую зиму величина подъема фундаментов была в 3–5 раз меньше и равнялась 30–76 мм, проходила довольно равномерно со скоростью 0,22–0,49 мм/сут. Относительная разность осадок колебалась от 0,003 до 0,08, т.е. редко выходила за пределы нормы (0,006). Осадка основания (18–54 мм) после вторичного пучения началась в марте и закончилась в сентябре.
Скорость оседания равнялась 0,22–0,42 мм/сут.
Приведенный пример свидетельствует о том, что проектная организация, стремясь сократить объем земляных работ, допустила грубую ошибку, оставив под фундаментами слой сильнопучинистого грунта (0,68–1 м). Ниже находился непучиноопасный опорный пласт с высоким расчетным сопротивлением, за счет чего можно было резко сократить размеры плитной части столбчатых фундаментов здания. Строительная организация допустила серьезное нарушение правил закладки фундаментов в зимнее время в пучинистых грунтах, что послужило причиной указанных деформаций строящегося здания.
Двухкратная деформация основания, фундаментов и каркаса явились невольной проверкой прочности и надежности всех конструктивных элементов и пространственной устойчивости узлов частично смонтированного здания, что позволило после проведения ремонтных работ достроить объект и сдать его в эксплуатацию. В практике строительства, нередко сильно деформированные объекты разбираются и строятся заново. Такая поспешность далеко не всегда оправдана. Приведенный выше пример подтверждает это, когда анализ реальной опасности и прогноз осадки основания с фундаментами и над фундаментным каркасом позволили сохранить объект. Затраты на его усиление были минимальными.

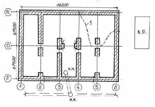
Рис. 1.4 Обрушение части 12-квартирного жилого дома: 1 - контур обрушения; 2 - контур деформации стены; К.К. - канализационный колодец; В.Я. - выгребная яма.
Пример 1.3. В апреле 1954 г. произошло обрушение угловой секции 4-этажного жилого дома. Здание в плане размерами 18,2 х 13,5 м (рис. 1.4), высотой (до карниза) – 13,5 м, фундаменты дома бутовые с глубиной заложения для наружных стен 2,66 м, а со стороны подвала (между осями 3–6) – 0,9 м; для внутренних стен – 2,45 м (от пола подвала заложение равно 0,55 м). Стены кирпичные облегченной конструкции (кладка Фокина), кирпич с щелевидными замкнутыми пустотами толщиной 6 см. Общая толщина стен: наружных 56 см

Фундаменты были заложены в ноябре 1953 г., к 1 марта 1954 г.
кирпичная кладка дома была построена. Кладка фундаментов и стен велась с замораживанием раствора. Основанием фундаментов служили пылеватые суглинки серовато-желтого цвета слоистой текстуры туго- и мягкопластичной консистенции, мощность слоя 7 м.
Необходимо отметить, что на расстоянии 2 м от оси 6 находилась выгребная яма

Первая вертикальная трещина появилась в стене лестничной клетки (по оси 4 (рис. 1.4)). Позднее появились трещины в кладке столба по оси 5 и по осям В и 6 (между осями Б – В). Попытка удержать наружные стены временными креплениями не дала положительного результата. В ночь на 17.04.54 г. произошла просадка угла здания на 10–12 см, а утром 19.04 угол дома обрушился.
После разборки завала было обнаружено следующее: подошва фундамента по оси В просела на 18 см, под подошвой был разжиженный грунт с присутствием фекальной воды; бутовая кладка фундаментов со стороны подвала расслоилась и частично обрушилась; вследствие неполного схватывания раствора (весенний переход через нулевую прочность) кирпичная и бутовая кладка уцелевшей части стен и фундаментов в месте обрушения свободно разбиралась руками. Из этого можно сделать вывод, что причинами аварии являются следующие факторы:
– нарушение проектного решения о ликвидации очага (выгребная яма) замачивания основания фекальной водой;
– замораживание основания в процессе строительства и его быстрое оттаивание за счет солнечной радиации (угол здания имеет южную ориентацию) и, главным образом, за счет притока фекальной воды, приведший грунт в текучепластичное состояние.
В мае 1954 г. авария ликвидирована и дом введен в эксплуатацию.
Пример 1.4. Полы одноэтажного здания-холодильника, как правило, проектируются с подогревом электроэнергией или теплым воздухом. При отключении подогрева происходит охлаждение пола и грунта основания, что приводит к образованию купола вспученного грунта и поднятию пола в срединной части камер холодильника в зависимости от температуры воздуха в них.
Это подтверждается 20-летним наблюдением за зданием-холодильником в г. Бикине.
Одноэтажный четырехкамерный холодильник с размерами


Рис. 1.5. Деформации пола холодильника: а) план здания; б) разрез 1-1; в) график пучения пола; К-1, К-2, К-3, К-4, К-5 – камеры холодильника; I – суглинок; II – песок с гравием.
Конструкция пола до ремонта (1958 г.) состояла из слоев: асфальт – 3 см, бетон – 5 см, шлак – 50 см, железобетонная плита – 5 см, шанцевые кирпичные каналы – 32 см, бетонная подготовка – 10 см. Общая толщина пола 105 см, давление на основание 17 кПа.
По проекту обогрев пола холодильника предусматривалось выполнять пропуском теплого (+14 ° С) воздуха, подогреваемого электрокалориферами, по шанцевым каналам подполья. Фактически обогрев пола не производился.
Грунты основания: на глубину до З м мягкопластичный серовато-коричневый суглинок, ниже на 1,5 м слой легкой пластичной супеси, подстилающий слой – пылеватый водонасыщенный песок с примесью гравия (до 10%). Уровень подземной воды расположен сразу под шанцевыми каналами.
Анализируя материалы наблюдений и выполненные расчеты можно сделать выводы: в первые 1,5–2 года (1951–1953 гг.) эксплуатации холодильника без обогрева пола промерз пол и грунт под ним на 0,5 м, о чем свидетельствовали начальный подъем полов на 2–5 см, колонн и перегородок; в последующие 5 лет (1953–1958 гг.) глубина промерзания грунта основания достигла 1,5 м; усредненная скорость промерзания пола и грунта за 7 лет составила 35,7 см/год, скорость пучения в различных камерах составляла 1,42–3,35 см/год; за следующие 13 лет (1958–1971 гг.) после ремонта (срезка “горбов” и утолщение пола шлаком на 60 см, увеличение давления на основание до 27 кПа) скорость промерзания основания замедлилась в 5,8 раза до 6,15 см/год, глубина промерзания увеличилась на 0,8 м (2,3 м), но скорость пучения увеличилась в 2 раза до
3,07–6,14 см/год) за счет благоприятных температурно- влажностных условий для миграции воды к фронту льдообразования в уровне подошвы пола холодильных камер. По состоянию на 1971 г. подъем пола в камерах составлял: К-1 20–25 см, К-2,3 З0–40 см, К-4 55 см. С учетом срезки в 1958 г. “горба” (30 см) в камере К-4 общий подъем пола в среднем достиг 85 см.
Из вышеизложенного следует, что нарушение правил эксплуатации холодильников подобного типа приводит сооружение в аварийное состояние, ликвидация которого требует больших затрат или невозможна без полной реконструкции здания. Длительное охлаждение грунтов основания, даже под значительным слоем теплоизоляции, приводит их к промерзанию, а при наличии пучинистых грунтов – к деформации сооружения.
В приведенных примерах хорошо видна зависимость деформации оснований сооружений за счет просчетов, допущенных на разных стадиях (изыскания, проектирование, строительство, эксплуатация) строительства сооружений, чего можно было избежать при соблюдении строительных норм и правил.